
Фильтры СДЖ
до 6,3 МПа
не более 9 баллов
ООО "НПО "Спецнефтемаш"
Типоразмеры в наличии:
Общее описание:
Фильтры сетчатые дренажные жидкостные, которые часто называют "фильтры СДЖ", используются в самых различных отраслях промышленности, а также в быту. Сетчатый фильтр грубой очистки позволяет удалить из жидкостей частицы ржавчины, окалины, металлической стружки и прочие механические примеси размером от 0,2 мм и выше. Фильтр сетчатый для нефтепродуктов широко применяется в нефтехимической и газовой промышленности, а также на нефтебазах и АЗС.
По способу соединения с трубопроводом изготавливаются в двух конструктивных исполнениях:
- Исполнение 1 – фильтры со штуцерами и с ответными фланцами (фланцевое соединение)
- Исполнение 2 – фильтры с патрубками под приварку (сварное соединение)
Технические характеристики фильтра СДЖ:
- рабочая температура: от минус 40 до плюс 300 °С;
- класс опасности по ГОСТ 12.1.007-76: опасная;
- воспламеняемая категория и группа взрывоопасности по ГОСТ 12.1.011-78: воспламеняемая;
- Классы опасности транспортируемой жидкости: 1, 2, 3, 4 по ГОСТ 12.1.007.
- Фильтры СДЖ рассчитаны на условные давления Ру 1,6; 2,5; 4,0; 6,3 МПа.
- Размер твердых частиц механических примесей в жидкости должен быть не более 200 мкм.
- Максимальная производительность фильтра СДЖ: до 2000 куб.м./час.
Материальное исполнение
- Ст3сп5, Ст20
- 09Г2С
- 12Х18Н10Т
Фильтр СДЖ представляет собой вертикальный цилиндрический аппарат с фильтрующим элементом каркасного типа с сеткой.
По материалу (в зависимости от температуры транспортируемой жидкости) фильтры СДЖ поставляются в трех исполнениях:
- от — 30.° С до + 300.° С, углеродистая сталь (3сп5),
- от — 60.° С до + 300.° С, низколегированная сталь (09Г2С-14),
- от — 40.° С до + 300.° С, коррозионностойкая сталь (12Х18Н10Т).
Сетчатые дренажные фильтры изготавливаются по АТК 24.218.04-90, ТУ 3615-001-24009276-2015.
Поставляем фильтры СДЖ с диапазоном условных проходов: Ду 50, 80, 100, 150, 200, 250, 300, 400, 500, 600, 700, 800, 900, 1000 мм.
Требования к сейсмичности площадки строительства
Благодаря передовым технологиям производства, сепарационное оборудование ООО НПО "Спецнефтемаш" способно выдерживать сейсмические воздействия вплоть до 9 баллов по шкале MSK-64. Проведенные в сентябре 2017 года испытания подтвердили это на практике, в результате чего был получен Сертификат Соответствия требованиям нормативных документов ГОСТ 30546.1-98, ГОСТ 30546.2-98, ГОСТ 30546.3-98.
Таким образом, если вам необходимо качественное сепарационное оборудование при строительстве объектов нефте-газовой промышленности в сейсмически активных районах, ООО НПО "СпецНефтеМаш" готов удовлетворить ваш спрос.
Пример условного обозначения фильтра: Фильтр СДЖ 250-1,6-1-2-С0-УХЛ1
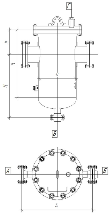
Схема и общий вид
| Исполнение 1 | Исполнение 2 |
|---|---|
| Обозначение | Штуцеры | Размеры, мм | |||||||
| Вылет, Dy, мм | Н1 | h | h1 | L1 | L2 | D | |||
| А, Б | В | Г | |||||||
| СДЖ 80 | 80/179 | 50/157 | М22х1,5 | 485 | 230 | 465 | 630 | — | 260 |
Сетчатые фильтры бытовые
Фильтр сетчатый фланцевый чаще применяется в промышленных установках для очистки больших объемов жидкости. В домашних условиях, как правило, используется муфтовый фильтр сдж. Он монтируется на трубу с помощью обычного резьбового соединения. Простой фильтр сетчатый удаляет механические примеси из воды и защищает различную бытовую технику от повреждения. Подобные фильтры жидкостные устанавливают при подключении стиральной машины, сливного бачка, посудомоечной машины и т.д. Сетчатый фильтр грубой очистки изготавливается из чугуна или стали. В качестве рабочей среды может выступать вода, пар и неагрессивные к металлам жидкости.
Нормативная документация на фильтры СДЖ
ООО "НПО "Спецнефтемаш" производит сетчатые фильтры механической очистки в соответствии с требованиями ТУ 3615-001-24009276-2015. Также фильтр сетчатый должен отвечать ПБ 03-576-03 (Правилам устройства и безопасной эксплуатации сосудов, работающих под давлением) и ПБ 03-584-03 (Правилам проектирования, изготовления и приемки сосудов и аппаратов стальных сварных). На фильтр сдж и другие подобные изделия распространяются требования отраслевого стандарта ОСТ 26-291-94 "Сосуды и аппараты стальные сварные. Общие технические условия".
Если фильтр СДЖ поставляется на экспорт, то он должен соответствовать ГОСТ 15151 (Условия поставки товаров для экспорта).
В компании ООО "НПО "Спецнефтемаш" вы можете купить фильтры СДЖ. Цена на фильтр СДЖ рассчитывается в зависимости от диаметра изделия, рабочего давления и типа исполнения. Сетчатый фильтр СДЖ изготавливается по заявке клиента. Срок изготовления и поставки в Глушково уточняйте у менеджеров компании.
Также фильтры могут быть изготовлены с термообработкой (Т) и изоляцией (И).
Качество фильтров СДЖ подтверждено декларацией соответствия таможенного союза ТР ТС 010/2011 "О безопасности машин и оборудования"
Типовые чертежи
Производство фильтров СДЖ по чертежам / техническому заданию Заказчика:
- с быстросъемной крышкой (концевым затвором) (СДЖ К);
- термообработанными (Т);
- с теплоизоляцией (И);
- с требованиями стойкости против межкристаллитной коррозии (М);
- экспортного исполнения (Э).
Фильтры СДЖ с быстросъёмной крышкой (концевывм затвором) и самопромывкой обратным потоком жидкости значительно уменьшают трудозатраты на техобслуживание в сравнении с обычными промышленными фильтрами.